S-335.Xx Mirror Centering Aids for the S-335

3-D Printed PI Equipment for Gluing Mirrors Yourself

  • Center 0.5" mirrors and 1.0" mirrors reliably
  • 3-D printed component, made of thermoplastic resin (ABS)
  • Inexpensive and also easy to use
S-335.Xx Mirror Centering Aids for the S-335
Product Description Downloads Quote / Order

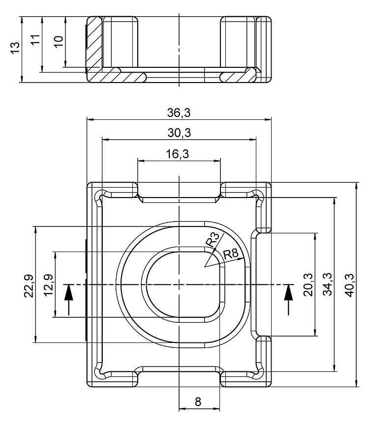
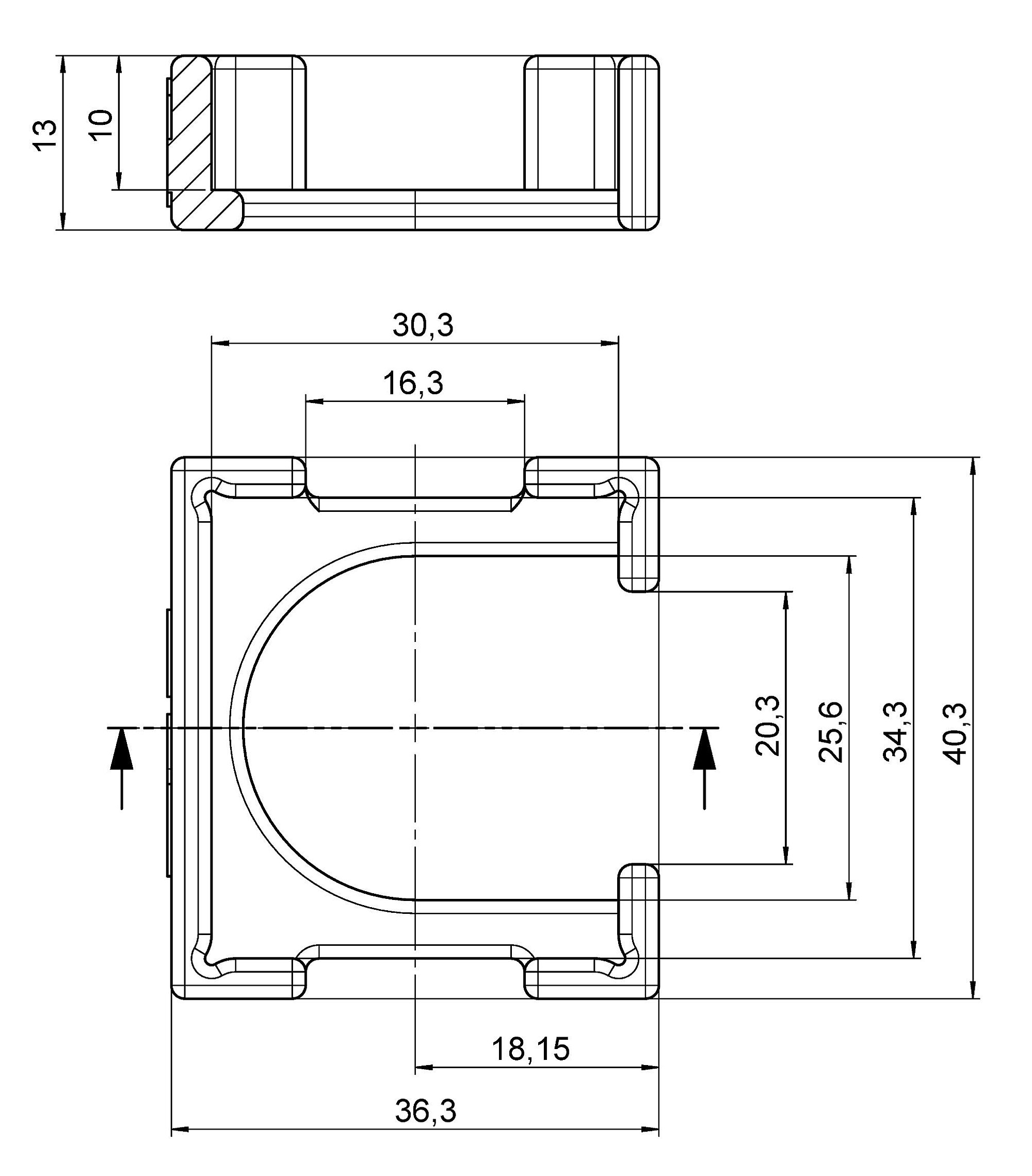
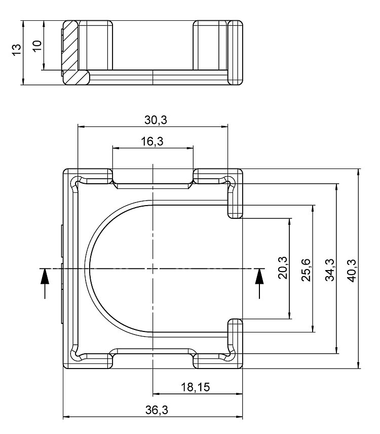
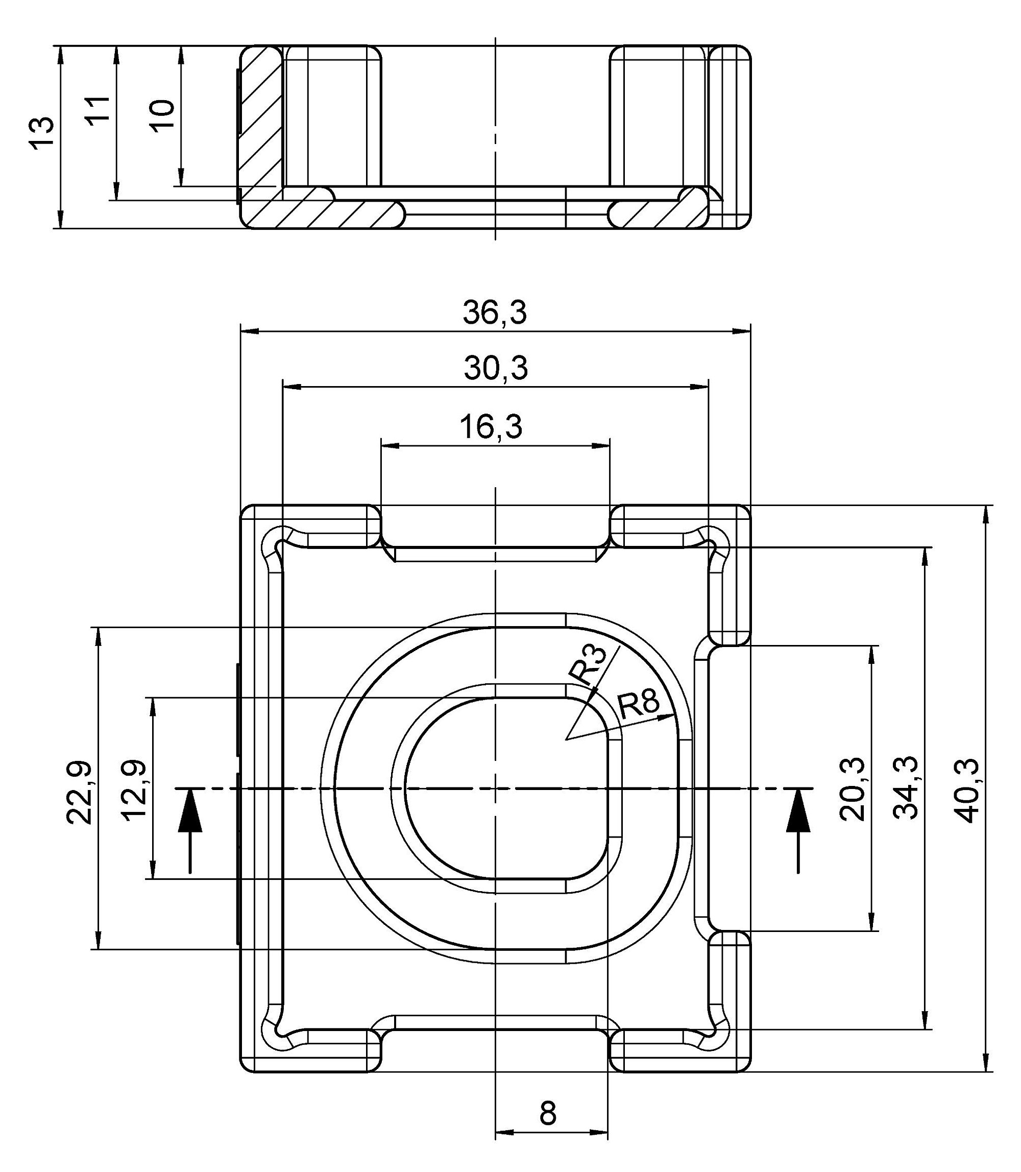
Accessory for S-335 piezo tip/tilt platforms

Centering aids can be used for gluing a mirror onto models from the S-335 series supplied without mirrors. The centering aid holds the mirror at the desired position during gluing.

Downloads

Datasheet

Datasheet

Datasheet S-335.Xx

Version / Date
2018-05-14
pdf - 147 KB
Version / Date
2018-05-14
pdf - 148 KB
Version / Date
2018-07-11
pdf - 623 KB

Documentation

Documentation

Technical Note S330T0024

S330T0024, valid for S-330.X1, S-330.X2, S-335.X1, S-335.X2

pdf - 332 KB
English

Quote / Order

Ask for a free quote on quantities required, prices, and lead times or describe your desired modification.

How to Get a Quote

Click on QUOTE / ORDER
Add variant to quote list
Fill out quote form
Send price request to PI
We will contact you shortly

Compatible Products