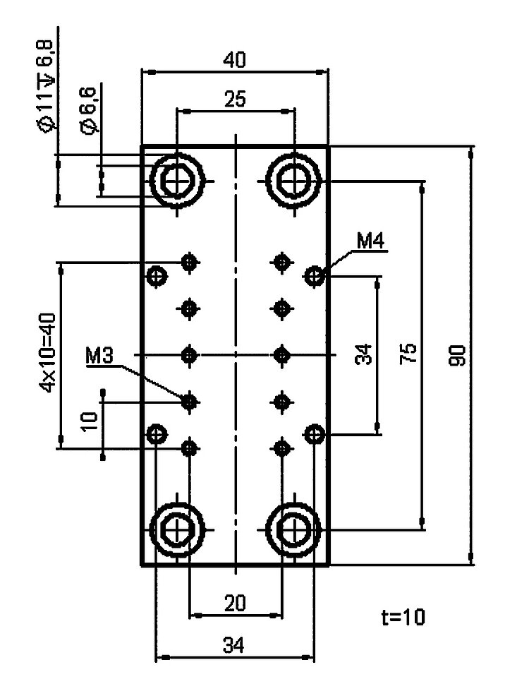
M-105.HP1 Adapter Plate

For Mounting M-105 Stages (and F-110) on Honeycomb Tables (Metric & Imperial)

M-105.HP1 Adapter Plate
Product Description Downloads Quote / Order

Downloads

Datasheet

Datasheet

Datasheet M-105.HP1

Version / Date
2015-04-13
pdf - 686 KB
Version / Date
2015-04-13
pdf - 686 KB

Quote / Order

Ask for a free quote on quantities required, prices, and lead times or describe your desired modification.

Ask about custom designs!

How to Get a Quote

Click on QUOTE / ORDER
Add variant to quote list
Fill out quote form
Send price request to PI
We will contact you shortly

Compatible Products